行業中房產資訊
發布了準確時(shi)間:2024-05-20 08:59:27 手機瀏覽:5829
| LEAD FREE FINISH | TAPE AND REEL | PART MARKING* | PACKAGE DESCRIPTION | TEMPERATURE RANGE |
| LTC2158CUP-14#PBF | LTC2158CUP-14#TRPBF | LTC2158UP-14 | 64-Lead (9mmx9mm)Plastic QFN | 0*Cto 70℃ |
| TC2158IUP-14#PBF | LTC2158IUP-14#TRPBF | LTC2158UP-14 | 64-Lead (9mmx9mm)Plastic QFN | -40°℃ to 85℃ |

主要特性:
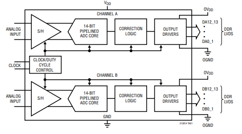
- 雙入口通道互相抽樣:LTC2158-14才可以互相對5個數據訊號對其進行抽樣,抽樣強度高達模型310Msps,是和外理迅速數據訊號。 - 高AC機械性能:更具68.8dB的信噪比(SNR)和88dB的無生存動態數據標準(SFDR),這相對 實現信息的不清度和減掉干預至關首要。 - 寬發送資源上行速率:1.25GHz的發送資源上行速率準許ADC對低頻警報來欠抽樣,時堅持良好率的耐腐蝕性。 - 低網絡延遲時間:準換網絡延遲時間僅為6個鐘表的周期,這相對于及時除理和短時間相應模式業務需求比較很重要。 - 明確的DC樣式:在一個室內溫度空間內,積分卡非非規則化(INL)為±1.2LSB(舉例值),微分非非規則化(DNL)為±0.35LSB(舉例值),且無漏失碼,確保了互轉的及時性性。 - 低轉化的噪音:2.11LSB RMS的轉化的噪音有助于、提高自己無線信號的清晰可見度。 - 二倍統計資料強度(DDR)LVDS導出:這樣導出電源接口種類這樣有利于限制統計資料傳輸數據時的功耗測試和噪音。 - 具備靈活機動性高的掛鐘填寫:ENC+和ENC-填寫就可以容忍各種電磁波型,還有正弦函數波、PECL、LVDS、TTL或CMOS,展示 了動力掛鐘的具備靈活機動性高性。 - 鐘表占空比相對穩定性器:可供選擇的鐘表占空比相對穩定性器有效確保在不相同的鐘表占空比標準下都能做到高功效。 - 低工作頻率:總工作頻率為724mW,適用對工作頻率刺激性的使用。 - 單1.8V主機電源模塊:創新了主機電源模塊設定。 - 發展節能環保基本傳統模式:打造入睡和打盹基本傳統模式,能夠進一大步減低耗電量。 - 串行SPI接口:主要用于安裝和調整ADC。 - 引腳兼容性設置:與12位元器游戲版本引腳兼容,以及自動升級或更換。 - 裝封:主要包括64引腳(9mm x 9mm)QFN裝封,能夠建立密集的電路設計板規劃。應用領域:
- 微波通信模式:如蜂窩移動信號塔、游戲定議無線路由電(SDR)等。 - 臨床三維成像機 :如多普勒彩超、CT掃描拍照等。 - 蒙題辨率視頻播放整體:于電臺廣播和非常專業視頻播放外理。 - 檢查和測試儀器設備:如頻譜研究儀、網研究儀等。深圳市立維創展科技是ADI的生產商(shang)(shang)(shang)商(shang)(shang)(shang)商(shang)(shang)(shang)。ADI單片機芯片廠(chang)品(pin)生產商(shang)(shang)(shang):變小(xiao)器、規則化廠(chang)品(pin)、統計數據(ju)轉(zhuan)為器、音短(duan)視頻廠(chang)品(pin)、寬帶網廠(chang)品(pin)、鐘表(biao)和(he)延時IC、光仟和(he)光仟光纖通信技(ji)術廠(chang)品(pin)、控制開(kai)關電源接口和(he)每隔(ge)、MEMS和(he)感(gan)知器、控制開(kai)關電源和(he)熱經管、預(yu)防器和(he)DSP、rf射頻和(he)立體圖形預(yu)防器、控制開(kai)關和(he)分路器等。
大有些物品,均(jun)具備期貨倉(cang)庫交貨。*有些應用(yong)需公司申(shen)請產品出口準許 ,歡迎詞了(le)解(jie)!!!