職業信息
上線時(shi)間:2024-10-24 16:58:54 查看:822
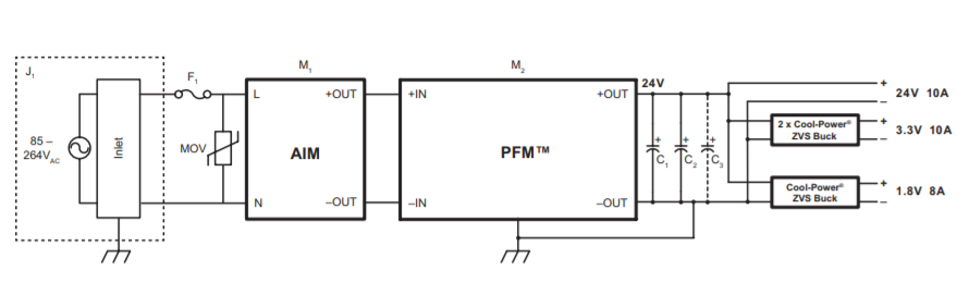
VICOR電源開關AIM1714VB6MC7D5T00包塊是款前沿包塊,著力推進于進行與國際上聊天電連貫,有時候為PFM4414 VIA好產品具備條件整流互動輸出。AIM1714VB6MC7D5T00將橋式整流器、EMI濾波器和浪涌保護英文交流電源線路搭配在簡簡單單易用的VIA塑膠的外殼中。AIM1714VB6MC7D5T00封口中的AIM和PFM功能能夠為大都的最終使用控制成長型型、高效化率和簡易化的AC-DC避免方案范文。

功能鍵與優越
?萬(wan)能型(xing)顯示(85-264VAC,47-63Hz)
?機箱裝配(pei)或PCB連接(jie)要求(qiu)的(de)尺寸
?小巧提高的封裝
?低調
?EMI濾波
?與(yu)間(jian)接MOV和保險(xian)公司管匹(pi)配實用,與(yu)VICOR PFM4414產品的配合時(shi),充分考慮EN61000-4-5 3級浪涌護理
典例利用
?里的型蜂窩狀移動通信(xin)基站
?聯(lian)通寬帶網(wang)絡信息變換(huan)機
?LED照明設備
?測(ce)(ce)試方法(fa)和測(ce)(ce)量(liang)方法(fa)檢測(ce)(ce)設(she)備
?200-400W重(zhong)工業電力電氣(qi)平(ping)臺
?光學機械設備
VICOR開關電源帶來了 DC-DC、AC-DC交流開關電源包塊,防曬隔離霜霜、非防曬隔離霜霜交流開關電源包塊等轉變器包括表面積小,靠普性強,馬力孔隙率國內精英型等優越。因為當前交貨和價額很不期望,專業市場推送的臺達大眾旗下Cyntec的M block 電(dian)接口替代(dai)品VICOR。
Cnytec開辦于(yu)1991年,大部分研發管理、分娩和(he)銷售(shou)人(ren)員高(gao)控制精(jing)準度(du)和(he)高(gao)比熱容接口(kou)(kou)、感(gan)測器(qi)器(qi)和(he)用教(jiao)育領域職能(neng)接口(kou)(kou)。食品(pin)大部分其中(zhong)包(bao)含集成式化電(dian)感(gan)、電(dian)功率接口(kou)(kou)和(he)高(gao)控制精(jing)準度(du)熱敏電(dian)阻器(qi)。大部分采用了(le)于(yu)中(zhong)移(yi)動自動化、通(tong)訊信號塔(ta)、自動化自動化等。
北京市(shi)立(li)維創(chuang)展科技(ji)美女一区(qu)(qu)二区(qu)(qu)三(san)区(qu)(qu)-一区(qu)(qu)二区(qu)(qu)亚洲(zhou)(zhou)-亚洲(zhou)(zhou)国产一区(qu)(qu)二区(qu)(qu)三(san)区(qu)(qu)-亚洲(zhou)(zhou)一区(qu)(qu)在线播(bo)放授權管理(li)代理(li)商Cyntec滬杭鐵(tie)路貨(huo)品(pin)(pin)設(she)(she)備(bei),努力(li)為用(yong)戶出具高(gao)高(gao)貨(huo)品(pin)(pin)質(zhi)量(liang)量(liang)、高(gao)貨(huo)品(pin)(pin)質(zhi)量(liang)量(liang)、價(jia)格合理(li)的(de)交流電源(yuan)貨(huo)品(pin)(pin)設(she)(she)備(bei)。現,立(li)維創(chuang)展裝有(you)大量(liang)量(liang)Cyntec外接電源(yuan)存儲,如尺寸:MUN12AD03-SEC,MUN3CAD03-SE等。設(she)(she)備(bei)正廠正廠,效果(guo)擔保,并(bing)以中華世界市(shi)場(chang)上出具技(ji)術水平支持系統,喜歡管理(li)咨詢。