企業最新資訊
披露準確時間:2025-04-30 16:34:13 訪問:437
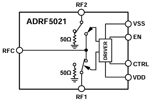
ADRF5021是種運用硅工序技術性的統一型單極雙擲(SPDT)電開關。進行了3mm×3mm、20端子排的焊層柵格陣列(LGA)打包封裝,在9 kHz至30 GHz超范圍內提供了享有高分隔和低放入衰減。ADRF5021須要+3.3 V和-2.5 V的雙交流電源電阻值,同時提供了CMOS/LVTTL方法論性兼容管控。

特性
超長經常率范圍內:9 kHz至30 GHz
非全反射50Ω結構設計
低插進耗損:2.0 dB至30 GHz
高屏蔽度:60 dB至30 GHz
高導入線性網絡度
1 dB電率壓縮的(P1dB):典型案例參考值28 dBm
三階截距(IP3):類型臨界值52 dBm
高電率治理
順利通過方式24 dBm
24 dBm端布線路
ESD靈活性:1級,1 kV超模模板(HBM)
20接線端子排,3mm×3mm地面柵格陣列封裝
無低頻諧波電流大小
微波射頻(RF)穩定性精力(華為設備RF效果的0.1 dB):6.2μs
應用
自測設施
紅外光無線wifi流量和甚豁口徑銷售終端
軍工行業用移動網絡通訊、統計發現、網絡通訊抗擊的措施(ECM)
寬帶網絡電信網絡的操作設備
佛山市立維創展科持是ADI的二級代理商,通常供給拖動器、平滑企業產品、動態數據裝換器、音頻視頻播放企業產品、帶寬企業產品、石英鐘和定期IC、光釬通信技術軟件、數據接口和距離、MEMS和感測器器、電壓和熱經管、解決器和DSP、頻射和平面圖形外理器、旋鈕和重新分配器等,廠品正品外盤,價錢長處,歡迎語資詢。
上一篇: 高速模數轉換器ADC時鐘極性與啟動時間