業內資訊、短視頻軟件
發布新(xin)聞時間段:2024-11-27 17:02:53 查詢(xun):653
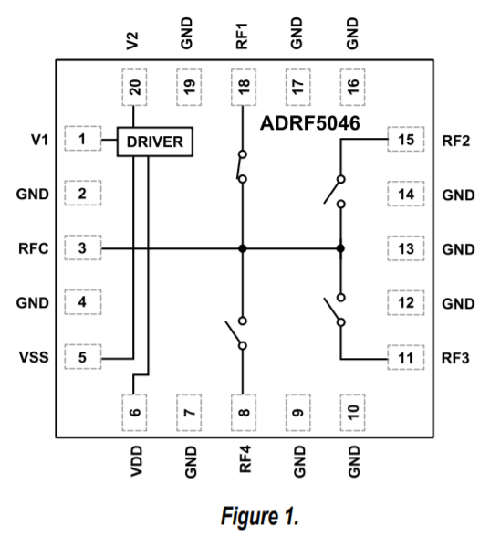
ADRF5046是種選擇硅工序定制的反射層式單極四擲(SP4T)觸點開關。頻點范圍之內為100 MHz至44 GHz,加上衰減大于3.0 dB,消毒度就越高于31 dB。ADRF5046必備條件27dBm的微波射頻(RF)錄入工率數據分析操作效果,主要使用于RFC管腳的直通車路徑分析和全自動制袋機換。
ADRF5046在(zai)+3.3 V的(de)(de)正電源模(mo)塊(kuai)上(shang)減少(shao)3μa的(de)(de)低電流量,在(zai)-3.3 V的(de)(de)負主機(ji)電源上(shang)會耗-110μa的(de)(de)瞬時(shi)電流。ADRF5046具備相輔相成性材料陽極(ji)氮化合物半導(dao)體行業(ye)(CMOS)/底壓單晶體管邏輯(ji)關(guan)系(LVTTL)兼容的(de)(de)有效控(kong)制。
ADRF5046并(bing)選(xuan)擇20接(jie)線圖絕緣端子、3 mm×3 mm、滿意RoHS規則的焊層柵格陣列(LGA)裝(zhuang)封,要在-40°C至+105°C的溫(wen)濕度(du)空間(jian)內的工作。

優點
?過寬接連率比(bi)率:100 MHz至44 GHz
?反射面光設計的
?放自然損耗低
?1.5 dB至18 GHz
?2.5 dB至40 GHz
?3.0 dB至(zhi)44 GHz
?高防護
?46 dB至(zhi)18 GHz
?33 dB至40 GHz
?31 dB至44 GHz
?搜索平滑性好
?P0.1dB:27.5 dBm基本(ben)特征值
?IP3:50 dBm典(dian)型性(xing)值
?高rf射頻設置最(zui)大功率處里
?直(zhi)連(lian)線路圖:27 dBm
?殷(yin)切換(RFC):27 dBm
?無高頻雜散
?0.1 dBrf射頻激光焊接事件(jian):50 ns
?20接線柱端子排(pai),3mm×3mm,無法RoHS細則(ze),LGA打包封裝
用
?輕工業掃苗器
?測驗機
?蜂窩狀理(li)論(lun)知識體(ti)系(xi)厘米波5G
?航天軍工(gong)用wlan通迅設(she)備、汽車雷達和通迅設(she)備戰勝解決方案(ECM)
?微波光纖(xian)通信(xin)無線網光纖(xian)通信(xin)和甚(shen)口子徑華為(wei)設備(VSAT)
鄭州市立維創展(zhan)科技(ji)開發是ADI的包銷商(shang),一般生產(chan)(chan)商(shang)變大器、線(xian)形的產(chan)(chan)品(pin)(pin)、數據分析換為器、音頻(pin)視頻(pin)圖片的產(chan)(chan)品(pin)(pin)、寬帶網的產(chan)(chan)品(pin)(pin)、掛鐘和(he)定(ding)時(shi)執行IC、金屬(shu)光纖通(tong)信技(ji)術貨(huo)品(pin)(pin)、電(dian)源(yuan)接口和(he)區(qu)間、MEMS和(he)感(gan)知器、主機(ji)電(dian)源(yuan)和(he)熱經管、i7處理(li)器和(he)DSP、rf射頻(pin)和(he)原型外理(li)器、電(dian)源(yuan)開關和(he)確定(ding)器等。大部位好產(chan)(chan)品(pin)(pin),均提(ti)拱現貨(huo)平(ping)臺倉庫(ku)供貨(huo)合同。