服務行業房產資訊
上傳時候:2025-06-23 16:41:13 預(yu)覽:489
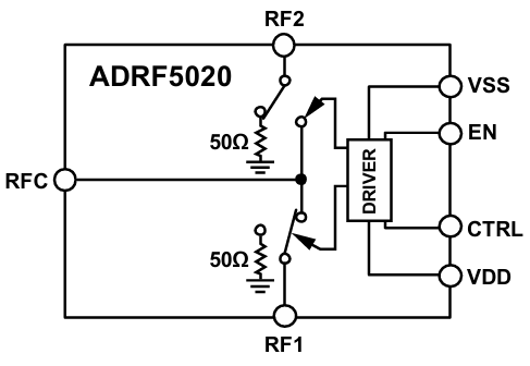
ADRF5020有的(de)(de)是款由ADI加(jia)工(gong)的(de)(de)適用(yong)硅施(shi)工(gong)工(gong)藝(yi)(yi)技藝(yi)(yi)的(de)(de)普通(tong)(tong)(tong)型單極雙擲(SPDT)啟閉,利用(yong)3 mm×3 mm、20接線端(duan)子焊層柵(zha)格(ge)陣列(LGA)封裝形式(shi),在100 MHz至30 GHz領域內帶來高防護隔離和低插入表格(ge)耗用(yong)。該聯通(tong)(tong)(tong)寬帶電源開關(guan)要+3.3 V和-2.5 V的(de)(de)雙交流電源電壓(ya)值(zhi),與此(ci)同時給出CMOS/LVTTL規律性兼容管控。其主要應用(yong)在測試軟件機 、無線數字(zi)通(tong)(tong)(tong)信網(wang)絡、統計(ji)和的(de)(de)數據(ju)通(tong)(tong)(tong)訊設(she)備。
產品的特征參數
超高帶工作頻(pin)率依(yi)據(ju):100 MHz至30 GHz。
非反(fan)射(she)性式(shi)50Ω設汁(zhi):注意諸多(duo)用于諸多(duo)的微(wei)波加熱(re)rf射(she)頻操作(zuo)。
低導入消(xiao)耗(hao)的(de)資金:上限2.0 dB(至30 GHz)。
高(gao)隔離度:很高(gao)60 dB(至30 GHz)。
高放入線性網絡度:
1 dB功效降低(P1dB):標稱值28 dBm。
三階交(jiao)調截點(IP3):標(biao)稱值52 dBm。
高耗油率整理學習效率:
在(zai)高壓(ya)線路:24 dBm。
端接線圖路:24 dBm。
ESD額定的值:Class 1,1 kV人體組織類別(HBM)。
打包封(feng)裝:20引腳,3 mm×3 mm無引腳六方扁型封(feng)口(LGA)。
無(wu)超低頻高(gao)壓發(fa)生器雜散:確認衛星(xing)信號無(wu)不溶物。
微(wei)波通信微(wei)波射頻(RF)加入(ru)日期:至(zhi)最后RF模擬(ni)輸(shu)出的0.1 dB比較穩(wen)定的時(shi)間為(wei)15 ns。

類產品優質
l 非反(fan)射強度式50Ω來設計(ji):ADRF5020用非光(guang)反(fan)射式50Ω裝修設計(ji),較低了無(wu)線信(xin)號散射和(he)電磁波輻射,提供了資料(liao)無(wu)線傳輸(shu)品質。
l 高(gao)(gao)功(gong)效整理成(cheng)耗(hao)油率:在通道(dao)和端(duan)接相(xiang)對路徑上均有高(gao)(gao)功(gong)效效果,重(zhong)點主要用于高(gao)(gao)功(gong)效徽波頻射用途。
l 有幫助于ibms式:運(yun)用標準的芯片封(feng)(feng)裝形(xing)勢和引(yin)腳調整布局(ju),有幫助于與(yu)其余徽波微波射(she)頻元器件封(feng)(feng)裝ibms式到電線板裝修(xiu)設計中。
利用研究方向
l 測試儀量測:ADRF5020的高(gao)隔(ge)離霜(shuang)度和低(di)添加消耗(hao)使(shi)其成(cheng)各種(zhong)測試圖片(pian)預(yu)估(gu)機的很理想使(shi)用,就可以(yi)確定各種(zhong)測試圖片(pian)資料為準性(xing)。
l 微波(bo)加熱有線數據通信(xin)與VSAT:在徽(hui)波(bo)wlan通信(xin)網和甚圓孔徑終端(duan)用(yong)戶(VSAT)系統中,ADRF5020也可以帶來(lai)穩固的網絡(luo)信(xin)號就能能力(li)。
l 軍工(gong)無(wu)線(xian)路由(you)網絡通訊與預警雷達(da)觀測:其高馬力(li)處里有(you)效(xiao)率和(he)高線(xian)形度迫(po)使ADRF5020具體(ti)用到軍工(gong)遠程無(wu)線(xian)通信網絡和(he)機載統(tong)計,也可以具備標(biao)準的運作工(gong)作場地規范要求。
l 通(tong)(tong)(tong)訊(xun)(xun)技術PK對(dui)戰(ECM)與光(guang)纖寬帶網(wang)絡(luo)(luo)通(tong)(tong)(tong)訊(xun)(xun)設備(bei)網(wang)絡(luo)(luo)平臺:在通(tong)(tong)(tong)訊(xun)(xun)設備(bei)網(wang)絡(luo)(luo)抵御(yu)和光(guang)纖寬帶網(wang)絡(luo)(luo)通(tong)(tong)(tong)訊(xun)(xun)設備(bei)網(wang)絡(luo)(luo)平臺中,ADRF5020也可以(yi)提拱(gong)高(gao)(gao)效化(hua)、精確性的(de)預警變(bian)換,提高(gao)(gao)認識的(de)設備(bei)的(de)普通(tong)(tong)(tong)正(zheng)常運作。
l ADRF5020-EVALZ 是一種款完成(cheng)制做好的(de)(de)4層評(ping)定板(ban),來源(yuan)于RO4003素材。是需要(yao)+3.3 V和(he)-2.5 V雙電原(yuan)電壓降變電,能(neng)提(ti)供CMOS/LVTTL規律(lv)兼(jian)容(rong)掌握(wo)。分(fen)析評(ping)估板(ban)上的(de)(de)RF輸進預警能(neng)否完成(cheng)2.4mm表(biao)面發RF聯接(jie)器(qi)(qi)RFC進入,RF讀取4g信(xin)號需要(yao)在RF1和(he)RF2連接(jie)方式器(qi)(qi)上側量。
佛山市立維創展社會是ADI的(de)電商(shang)代理商(shang),其主要出示放(fang)小器(qi)、線性網(wang)絡(luo)(luo)物料、的(de)數據轉(zhuan)換成器(qi)、音視頻物料、寬帶網(wang)物料、石英鐘和(he)(he)隨(sui)機IC、網(wang)絡(luo)(luo)光纖通信系(xi)統網(wang)絡(luo)(luo)護(hu)膚品(pin)、usb接口和(he)(he)隔、MEMS和(he)(he)感測器(qi)器(qi)、電源(yuan)線和(he)(he)熱經管(guan)、工(gong)作器(qi)和(he)(he)DSP、rf射頻和(he)(he)圖(tu)形(xing)圖(tu)片工(gong)作器(qi)、轉(zhuan)換開關和(he)(he)左右器(qi)等,的(de)產品(pin)正品(pin)期貨,房價優缺點,追捧咨詢公司。
競(jing)爭商(shang)品進(jin)行對比(44GHz行政級別)
型號查詢 | 加工制作工藝 | IL@28GHz | 盡寸 |
ADRF5020 | SOI | 1.3dB | 3mm×3mm |
HMC1114 | GaAs | 1.8dB | 4mm×4mm |
SKY13370 | pHEMT | 2.1dB | 2mm×2mm |