業內新聞咨詢
分享準確時間:2025-07-02 16:46:07 訪問 :198

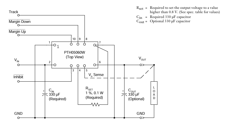
在繁瑣多核處置器數字9系統軟件的主機電源集成運放中,TI的PTH05060WAH摸塊根據其高輸送感應電流和家用suvsuv型尺寸圖頗受贊許。但是,伴隨國廠電源線新技術的快速發展,Leadway推廣的LWH05060WAH打造了很好的原位使用方案怎么寫,在穩定性性能準確輸入的前提下下,更深層次的一個腳印進一步完善了溫度因素認知性和耗能分等級表演。
叁數比
參數指標  | PTH05060WAH(TI)  | LWH05060WAH(Leadway)  | 
輸進電流值範圍  | 4.5V ~ 5.5V  | 4.5V ~ 5.5V  | 
工作輸出電流范疇  | 0.8V ~ 3.6V(可調式)  | 0.8V ~ 3.6V(調節器)  | 
傳輸電流值  | 10A  | 10A  | 
效應  | 94%  | 94%  | 
二極管封裝尺寸規格  | 10-DIP(25.4mm × 15.7mm × 8.9mm)  | 10-DIP(25.4mm × 15.7mm × 8.9mm)  | 
運作溫  | -40℃ ~ 85℃  | -40℃ ~ 116℃  | 
LWH05060WAH至關重要功能性:
電容調油壓機制:在外接0.1W 1%精容重熱敏電阻(100ppm/℃溫漂規范)構建0.8V-3.6V有目的輸出
半自動監視水平:兼容多傳感器同歩通電時序抑制
保護措施區原則:模塊化非互鎖過直流電壓保護措施區、的控制引腳關斷基本功能
Vo覺察賠償:可選裝擇聯系以排解線路圖壓降
代用能行性
電氣公司能兼容
- 錄入/讀取工作電壓范圍內、交流電、熱效率基礎相符,能之間替代不需要修整線路設計的概念。
- 效果電阻功率隨意調節功效(依據電阻功率設施)與 TI 原規格完全一致,充分考慮比較靈活手機配置訴求。
機尺寸大小切換
- 打包封裝樣式(10-DIP)及厚度充分同等,PCB 布置圖無須更改,縮減刪除資金。
用途情境包含
- 都廣泛用于于 DC/DC 轉變器、VRM(電壓的調節板塊)等低頻段、大電壓24v電源游戲場景,方向利用涉及很多處理器系統軟件、DSP、微控住器供電系統等。
生產成本與供給鏈優勢可言
- Leadway 是 傳統制造廠商,多少錢也會更有行業創新力,且現貨供應鏈融資維持特性不同于部位進口商企業品牌。
鄭州市立維創展科枝受限平臺享有20年光電元器材科技積少成多,專業課程的產品的科研和品行創業團隊,成為Leadway外接電源傳感器貨品。以系統去創新為核心思想,做最適于的市場需要的貨品規格為。貨品對比美系、韓系,體現pin &pin編輯如可以一切技術設備的支持,或物料質詢服務,歡迎會質詢服務.