企業最新資訊
公布的(de)事(shi)件:2019-02-13 15:24:10 打開網頁:2125
假如您都要購ADUC7023BCPZ62I,請點選右面客戶關系讓我們!!!
品牌
型號
貨期
庫存
ADI
ADUC7023BCPZ62I
1周
30
ADUC7023BCPZ62I一款完整智能(neng)家居(ju)控制(zhi)的1 MSPS,12個(ge)數(shu)據(ju)終(zhong)端采集(ji)裝置,在(zai)單電(dian)子器件上智能(neng)家居(ju)控制(zhi)了高使用性能(neng)多區域ADC,16位/ 32位MCU和Flash / EE文(wen)件存(cun)儲器。
ADC由(you)增(zeng)至12單端放入(ru)構(gou)造。還有就是有七個鍵盤輸(shu)(shu)入(ru)可以,但與七個DAC輸(shu)(shu)入(ru)引(yin)腳(jiao)復接。ADC能否(fou)在(zai)單端或(huo)差分投入(ru)格局下崗(gang)位(wei)。ADC輸(shu)(shu)入(ru)電流為0 V至V REF。低漂(piao)移帶(dai)隙系數,溫度調節器器和輸出功率(lv)較為器不(bu)斷完(wan)善ADC外設集。
DAC傳輸依據可代碼(ma)編程(cheng)為兩(liang)相電壓依據的(de)一(yi)個。DAC模擬輸出(chu)具(ju)提高(gao)功用,就(jiu)能在看門(men)狗或手機(ji)app歸零(ling)字段其(qi)(qi)間始(shi)終維持(chi)其(qi)(qi)模擬輸出(chu)電壓電流。
許多(duo)電子元(yuan)件采取片內(nei)自激振蕩器和PLL操作(zuo),引發41.78 MHz的內(nei)部(bu)人員(yuan)低(di)頻(pin)(pin)掛(gua)鐘。該數字石(shi)英鐘憑借可c語(yu)言編程數字石(shi)英鐘分頻(pin)(pin)器開展路由(you),這(zhe)篇轉為(wei)MCU內(nei)核(he)數字石(shi)英鐘作(zuo)業率。微抑制器重要(yao)都是個ARM7TDMI ®,16位/ 32位RISC電(dian)腦,能(neng)提供多達41的(de)MIPS閥(fa)值能(neng)。基帶(dai)芯片上作為8一(yi)千(qian)節的(de)SRAM和(he)62一(yi)千(qian)節的(de)非(fei)易失性(xing)Flash / EE儲存方式器。ARM7TDMI內核(he)將其他硬盤和(he)寄存器等同于單獨一(yi)個非(fei)線性(xing)陣列。
ADuC7023包函一位(wei)高級的暫停管控器。向量間斷有效(xiao)控器(VIC)不(bu)可(ke)以為每一位(wei)間斷分(fen)派重要級。它還(huan)適用嵌套異常中斷,任(ren)何IRQ和(he)FIQ的最(zui)主要極(ji)別為8。當女子組合IRQ和(he)FIQ停止源時(shi),共分(fen)扶持16個嵌套停止級別。
片上工業區固件使用確認I 2 C串行接口(kou)方式(shi)接口(kou)使用迅雷在(zai)線安裝(zhuang),并進行JTAGusb接口(kou)鼓勵非入(ru)侵式(shi)模型制(zhi)作。他(ta)們的(de)功能都(dou)集成機(ji)系統在(zai)有一個低投入(ru)QuickStart?開放(fang)機(ji)系統不支持此微轉移®的家(jia)庭。該電子元件構成1個攜帶4個模擬輸(shu)出警報的16位PWM。
由于微波通信主要目的,該電子元件包涵2×I 2 C區(qu)域,可獨自(zi)硬件配置為核心或從摸式(shi)。還給出了認可主的(de)的(de)模式(shi)和從的(de)的(de)模式(shi)的(de)SPI主板(ban)接(jie)口。
這么多功率器件(jian)的上(shang)班(ban)交流電(dian)壓的標準為(wei)2.7 V至3.6 V,額定(ding)負載溫差(cha)的標準為(wei)-40°C至+ 125°C重工業溫差(cha)的標準。ADuC7023用32引腳(jiao)或40引腳(jiao)LFCSP打包封裝(zhuang)。還(huan)能提供(gong)36球晶圓級(ji)CSP裝(zhuang)封(WLCSP)。
優勢和特點
微把控器
很多11個ADC出入口
0 V至V REF仿真模擬讀取范圍之內
更多可打造4個DAC的輸出
秒表選擇項
片外四周
62 kB Flash / EE儲存器,8 kB SRAM
優酷云保存,系統設計JTAG的調節
APP引起的迅雷在線可重程序編寫效率
每樣間斷分類的最優級
出現中斷邊沿或電平外觀引腳插入
復制粘貼和工作輸出級采用了4字節FIFO
因此GPIO均可接受5 V電流
看門狗定時任務器(WDT)
16 PLA構件
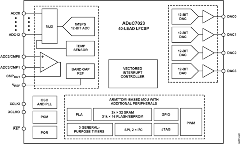
結構圖

深圳市立維創展科技代理銷售ADI現貨產品,致力于為廣大客戶提供低價格、高質量、有保障的產品,提供優質的售前與售后服務技術。如您有任何產品需求以及服務請聯系我們客服人員,我們會再第一時間內為您解決問題。